Nissan Altima: GlacesGlaces à commande électrique
AVERTISSEMENT
Assurez-vous que tous vos passagers ont les mains, les bras, etc. à l'intérieur du véhicule lorsque ce dernier est en mouvement et avant de relever les glaces. Servez-vous du commutateur de verrouillage des glaces pour empêcher l'utilisation imprévue des lèveglaces à commande électrique.
Ne laissez pas d'enfants sans surveillance dans le véhicule. Ils pourraient actionner par mégarde les commutateurs ou les commandes de lève-glace et se trouver coincés dans l'ouverture d'une des glaces. Des enfants laissés sans surveillance dans un véhicule pourraient être victimes d'accidents graves.
Les glaces à commande électrique peuvent être activées lorsque le commutateur d'allumage est placé à la position ON (marche) ou pendant un certain délai après la coupure du contact. L'alimentation des glaces à commande électrique est toutefois neutralisée si la portière du conducteur ou celle du passager est ouverte pendant ce délai.

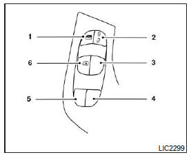
Bloc de commande de glaces électriques du côté conducteur
Le bloc de commande du côté conducteur est muni de commandes qui permettent d'ouvrir ou de fermer toutes les glaces du véhicule.
Pour ouvrir une glace, appuyez sur la commande jusqu'au premier cran et maintenez-la ainsi jusqu'à ce que la glace atteigne la position désirée.
Pour fermer une glace, relevez la commande jusqu'au premier cran et maintenez-la jusqu'à ce que la glace atteigne la position voulue.
Commande de glace électrique du côté passager avant

La commande de glace électrique du côté passager avant permet seulement l'activation de la glace électrique du passager avant. Pour ouvrir la glace, enfoncez la commande jusqu'au premier cran et maintenez-la jusqu'à ce que la glace atteigne la position voulue 1 . Pour fermer la glace, relevez la commande jusqu'au premier cran et maintenez-la jusqu'à ce que la glace atteigne la position voulue 2 .
Commandes des glaces électriques arrière

Les commandes des glaces électriques arrière permettent d'ouvrir ou de fermer la glace électrique du passager correspondante. Pour ouvrir la glace, appuyez sur la commande et maintenez-la enfoncée 1 . Soulevez la commande pour refermer la glace 2 .
Verrouillage des glaces des passagers
Seule la glace du côté conducteur peut être ouverte ou fermée lorsque l'interrupteur de verrouillage des glaces est enfoncé. Pour déverrouiller les glaces, enfoncez de nouveau l'interrupteur.
Fonctionnement automatique

Pour ouvrir complètement une glace dotée du fonctionnement automatique, appuyez sur l'interrupteur de glace jusqu'au deuxième cran et relâchez-le. Il est inutile de le maintenir enfoncé.
La glace s'ouvre complètement. Pour interrompre l'ouverture de la glace, tirez la commande vers le haut.
Pour fermer complètement une glace automatique, tirez brièvement la commande correspondante vers le haut jusqu'au deuxième cran. Vous n'avez pas besoin de la maintenir en position.
Pour interrompre la course de la glace, appuyez sur la commande vers le bas pendant la fermeture.
Fonction d'inversion automatique
Si le module de commande décèle la présence d'un objet coincé dans l'ouverture de la glace pendant que celle-ci remonte, la glace s'abaisse immédiatement.
La fonction d'inversion automatique peut être activée si la commande automatique de fermeture de la glace est activée lorsque le commutateur d'allumage est tourné en position ON (marche) ou pendant un certain délai après la coupure du contact.
La fonction d'inversion automatique peut également être activée par un impact ou une charge ayant le même effet qu'un objet coincé dans l'ouverture de la glace, selon l'environnement ou les conditions de conduite.
AVERTISSEMENT
Certaines zones très limitées et très rapprochées de la position de fermeture complète ne bénéficient pas de la fonction de détection. Assurez-vous donc que rien ne se trouve dans l'ouverture des glaces (par exemple, les mains des passagers, etc.) avant de les fermer.
Lorsque le mode automatique de la commande de la glace électrique ne fonctionne pas
Si le mode automatique ne fonctionne pas correctement, effectuez la procédure suivante pour initialiser la commande de la glace électrique.
Continuez de maintenir la commande de la glace en position relevée pendant cinq secondes après la fermeture complète de la glace. (Vous devez effectuer cette entière étape en tirant une seule fois sur la commande de la glace.)
La réinitialisation est terminée. Le mode automatique de la commande de la glace électrique devrait maintenant fonctionner.
Si le mode automatique ne fonctionne pas correctement après avoir exécuté les étapes cidessus, consultez un concessionnaire NISSAN pour obtenir de l'aide.
Aucune réinitialisation n'est nécessaire pour les commandes des autres glaces.
Crochets à sacs d'épicerie
Toit ouvrant transparent (selon l'équipement)Boîte de vitesses manuelle
Boîte de vitesses manuelle
Démarrage du véhicule
Vérifi ez que le levier de vitesses est bien au point mort.
Ne touchez pas à l’accélérateur.
Pour les moteurs Diesel ; tournez la clé en position M et attendez l’extinction
d ...
Interrupteur de neutralisation du système de contrôle dynamique du véhicule
Le système de contrôle dynamique du véhicule
devrait être activé dans la plupart des conditions
de conduite.
Si le véhicule est enlisé dans la boue ou la neige,
le système de contrôle dynamique du véhicule
réduit la ...
Tablette arrière
Dépose
Décrochez les deux cordons 1 (côté
porte de coffre).
Ne placez
aucun objet et
surtout pas d'objets lourds
ou durs sur la tablette. En
cas de freinage brusque ou
d'accident ils sont susceptibles de
mettre en danger les occupants du
véhicule.
Levez ...