Nissan Altima: Fusibles

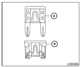
Votre véhicule utilise deux types de fusibles. Les boîtes à fusibles du compartiment moteur utilisent des fusibles de type A . La boîte à fusibles de l'habitacle utilise des fusibles de type B .
Des fusibles de rechange de type A sont fournis d'origine. Ils se trouvent dans la boîte à fusibles de l'habitacle.
Les fusibles de type A peuvent être utilisés dans les boîtes à fusibles du compartiment moteur et de l'habitacle.

Lorsqu'un fusible de type A est utilisé en remplacement d'un fusible de type B, il ne sera pas logé aussi profondément que ceux de type B (voir l'illustration). Ce fusible assurera la protection du circuit de même manière. Vérifiez que le fusible est bien enfoncé dans la boîte à fusibles.
Les fusibles de type B ne conviennent pas pour les boîtes à fusibles du compartiment moteur.
Utilisez exclusivement des fusibles de type A dans les boîtes à fusibles du compartiment moteur.
Indicateurs d'usure de plaquettes de frein
Compartiment moteurSystème de surveillance de la pression
des pneus
AVERTISSEMENT
Le système de surveillance de la
pression des pneus ne remplace pas
le contrôle manuel de la pression des
pneus. Vous devez vérifier régulièrement
la pression des pneus à l'aide d'un
manomètre. Si la pression des pneus n'est
pas co ...
Commande de croisière radar Mazda (MRCC)
Le système de Commande de croisière radar Mazda (MRCC) est conçu pour
maintenir le
contrôle des espacements en fonction de la vitesse du véhicule grâce à un
capteur radar qui
détecte la distance du véhicule devant vous; et en pr&eacu ...
Commandes d’éclairage extérieur
Dispositif de sélection et de commande des différents feux avant et arrière assurant
l’éclairage du véhicule.
Eclairage principal
Les différents feux avant et arrière du véhicule sont conçus pour adapter progressivement
la visibili ...